|
|
|
З „блискавкою” знайомі всі. Напевне у кожного із нас є хоча б одна „блискавка” на одязі , або на сумці. Вона проста у використанні, хоча буває, що “заїдає” в найвідповідальніший момент. Без неї уже не можливо уявити наше повсякденне життя. Але мало хто знає, що нашому маленькому “зубатому помічнику” більше 110 років із часу винайдення. Перші відомості про „блискавку” відносяться до 1851 року, коли винахідник швейної машини Елайя Хоу отримав патент на “автоматичну, безперервну застібку для одягу”. Але на той час його винахід вважався дуже революційним для одягу і не знайшов застосування. Тільки через 44 роки застібка “блискавка” пізніше всесвітньо відома як “зіпер” (zipper), була ще раз запатентована американським винахідником пневматичного трамвая Уіткомом Джадсоном. Підштовхнуло його до цього несподіваного винаходу виключно високе почуття дружби. Його близький друг довгі роки страждав від болю в спині, яка виникла після травми хребта: йому було важко навіть нагнутись, щоб зашнурувати черевики. Так і з’явилась застібка для черевиків, з якою можна було справитись однією рукою. |
Спочатку вона складалась із двох ланцюжків , на кожному з яких чергувались гачки з отворами, які чіплялись один до одного за допомогою рухомої металевої скріпки – язичка. Технологія виготовлення “зіпера” була дуже складною, тому коштувала вона у два рази дорожче самих черевик. Однак в 1893 році Уітком усе ж відкрив у Чикаго “Універсальну застібкову компанію”, хоча комерційного успіху це не принесло. Спочатку застібка-“блискавка” так і використовувалась виключно в ботах та калошах. |
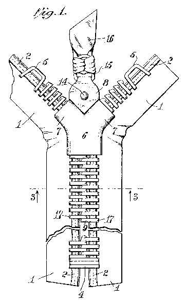
29 квітня 1913 року інженер Гідеон Сандбек (див. фото), що емігрував в США зі Швеції, отримав патент на застібку-“блискавка”, якою призначено було зробити переворот в кравецькому мистецтві і в розумах. Тямущий інженер був найнятий зовсім в не процвітаючу американську “Універсальну застібкову компанію” для удосконалення механізму “застібки для взуття” – прообразу нинішньої застібки-блискавки. Застібку, яку запропонував світу Сандбек, ми використовуємо в майже незміненому вигляді до цих пір. “Хрещеним батьком” блискавки виступив президент компанії B. F. Goodrich Бертрам Рок, коли в 1923 році він вибрав цю застібку для гумових галош. Йому сподобався звук, що видається металевими елементами при роботі, – zip (щось подібне до російського “вжик”). Так народилася назва моделі — Zipper Boots. |
![]() |
![]() |
| Гідеон Сандбек | Патент застібки-стрічка |
|
На початку 30-х років модел’єр Ельза Скапареллі почала експериментувати з “блискавкою” на дитячих речах, оскільки переважна більшість маленьких дітей не вміє застібати ґудзики, то новий вид застібки дуже швидко прижився. Але повний прорив “блискавки” в наше життя настав у 1937 р., коли вийшов термін патенту Гідеона Сандбека і використовувати її в своїх роботах вирішив французький модел’єр Жан Клод. Виключно для епатажу він уперше помістив “зіпер” на ширінку чоловічих штанів. Штани відразу почали продаватись у два рази більше. У післявоєнні роки “блискавка” прийшла в жіночу моду. Причому саме на жіночому одязі вона набула декоративних функцій. Вона дозволяє зробити силует більш елегантним. До того ж “блискавка” дарує можливість жінкам самим моделювати одяг під себе. Наприклад, вертикальна “змійка” по всій довжині спідниці дозволяє її власниці самій регулювати розріз, наскільки вистачає сміливості.
![]() Скільки “блискавок” зараз випускається у світі кожного року, не знає ніхто. Експерти вважають, що рахунок іде на сотні міліонів. Приблизно 80% “блискавок” виготовляють низькооплачувані робітники в Азії, Африці та Південній Америці – часто це діти, які змушені працювати на відрядній основі на великих текстильних фабриках. У промислово розвинених країнах кількість виготовлених щоденно застібок-“блискавок” також вимірюється тисячами.
|
|
| Каталог Застiбка «блискавка» та слайдери | |








